La Milicia Nacional Bolivariana y la defensa del chavismo

Se podría llenar una estantería con los libros que me propuse escribir y nunca pasaron del primer capítulo. Y uno de esos libros podría ser una recopilación de los artículos cuyo borrador duerme en alguna carpeta de mi disco duro. A veces me sorprendo yo mismo al releer entradas de varios años de este blog y encontrar referencias a proyectos de artículos que no pasaron incluso de la fase de recopilación de bibliografía.

Uno de esos artículos que me propuse escribir trataba el nuevo Pensamiento Militar Bolivariano y la creación de una milicia popular en Venezuela. Recuerdo dedicar tiempo en el invierno austral de 2010 a tomar notas. A mi vuelta a España buceé en los libros de historia de Venezuela en la Biblioteca de Humanidades de la Universidad de La Laguna. Cometí un error de principiante entonces. En vez de ir al meollo del asunto, empecé por el contexto histórico del país. Para mí el punto clave fue el Golpe de Estado de 2002 y la parálisis del ejército. Pero quise explicar la crisis del orden político tradicional venezolano y la aparición del chavismo. Llegó el día en que me vi leyendo sobre el Pacto de Punto Fijo del 31 de octubre de 1958. Había perdido el foco y seguro que fue ahí cuando salté a otro tema.

El punto de partida es que en Venezuela anunciaron la iniciativa de crear un nuevo pensamiento militar autóctono. Según el general Rául Baduel existía un problema porque las doctrinas militares venezolanas eran de inspiración estadounidense. Y aunque los más escépticos podrían sospechar de que el propósito era politizar la formación militar en Venezuela, yo sentía curiosidad si iban a plantear algo original y novedoso. De hecho, en Venezuela se hablaba de una invasión estadounidense. Así, terminó el profesor Jorge Vestrynge invitado al país tras la publicación en España de su libro El Islam Revolucionario y la Guerra Periférica, editado en España por El Viejo Topo en 2005.

El libro trata fundamentalmente de la guerra asimétrica y está escrito al calor del impacto del 11-S. Está muy influenciado por las ideas del libro L’islam révolutionnaire del terrorista y converso al Islam Illich Ramírez Sánchez. Según le escuché decir a Verstrynge en un entrevista, él le transmitió a sus interlocutores venezolanos que la idea de una invasión estadounidense era un disparate. Verstrynge dictó conferencias en instituciones militares venezolanas y su libro tuvo una edición de decenas de miles de ejemplares para ser distribuido en las fuerzas armadas. Según él, no cobró dinero por ello. Parte de las ideas del libro conectan con el concepto «Guerra Sin Restricciones» de los chinos  Qiao Liang y Wang Xiangsui. Así surgieron titulares como «El podemita Verstynge enseña en Venezuela y en la Complutense cómo hacer una bomba atómica casera».

Mientras indagaba sobre el nuevo pensamiento militar, acudí en 2010 a las páginas web de instituciones militares venezolanas en busca de textos de pensamiento y doctrina militares. Me encontré un batiburrillo formado por filósofos chinos, padres de la Patria decimonónicos y pensamiento de izquierda. Nada coherente y desarrollado. Aparqué el proyecto de artículo, pero repetidamente fui cruzándome con artículos de opinión donde chavistas usaban alegremente conceptos como «Guerras de Cuarta Generación» sin ninguna relación con lo planteado por William S. Lind cuando desarolló el concepto. Llegué incluso a encontrar un documental de un periodista español que con el título «El Enjambre» aludía al concepto de swarming de John Arquilla y David Ronfeldt dándole un significado diferente. Se puede ver en este enlace de CubaInformación.TV, donde en su prsentación dice que «analiza la doctrina de Guerra en red» y «la guerra mediática y las operaciones psicológicas contra Venezuela». Escribí sobre esa permanente confusión intelectual venezolana en «El delirante pensamiento militar contemporáneo venezolano». Como dije entonces, queda pendiente hacer un repaso a cómo en Venezuela tomaron conceptos de pensadores estadounidenses y le dieron un significado propio. Además, seguro que hay ahí fuera muchos más textos que cuando hice mi primera aproximación al nuevo Pensamiento Militar Bolivariano.

Personal militar en unos ejercicios de guerra asimétrica en el Estado Vargas, 2005.

Quizás el temor a una invasión estadounidense resulte ridícula con la perspectiva del tiempo. La atención de Estados Unidos estaba demiasado volcada en la primera mitad de la década anterior en la guerra contra Al Qaeda y luego en Oriente Medio. Además, el habitual discurso del «imperialismo yanki» y el petróleo venezolano siempre pasa por alto que Venezuela siempre ha estado «open for business» para las petroleras yankis, que durante el «paro petrolero»de 2002-2003 estuvieron del lado del gobierno. Al fin y al cabo, querían que su mercancía saliera del país. Por no olvidar que el petróleo venezolano es de mala calidad y requiere unas instalaciones de refinado específicas que sólo se encuentran en Estados Unidos.

Real o fingido, aquel temor llevó al gobierno venezolano a compras masivas de armamento a Rusia. Alguno de ese armamento era tan viejo como los fusiles de cerrojo Mosin Nagant de la Segunda Guerra Mundial o era de segunda mano como los carros de combate T-72B «reacondicionados». Aquella preocupación venezolana por una invasión estadounidense trajo otra iniciativa: la creación de una milicia popular chavista. La idea de partida era contar con una fuerza combatiente que auxiliaria a las fuerzas armadas en caso de invasión.

Las milicias populares nacen en Venezuela con la “Ley Orgánica de la Fuerza Armada Nacional” (LOFAN) del 26 de septiembre de 2005. En su artículo noveno figura la “Composición de la Fuerza” y se nombran los elementos que forman la Fuerza Armada Nacional. Aparecen mencionadas como novedad la “Reserva Nacional” y la “Guardia Territorial”. Curiosamente, ambas no aparecían en el artículo 328 de la Constitución de 1999, donde sólo se mencionaban como integrantes de la Fuerza Armada Nacional a la Armada, la Aviación y la Guardia Nacional.

Milicianos con fusiles de cerrojo soviéticos Mosin Nagant.

En el texto de la LOFAN se especifica que las funciones de la Reserva Nacional es “complementar la Fuerza Armada Nacional activa para el cumplimiento de sus funciones y proporcionar reemplazos a sus unidades, y cualquier otra que se le asigne para la defensa integral de la Nación”. Entre las posibles misiones se encuentra “la cooperación para el mantenimiento del orden interno”. Mientras que las funciones de la Guardia Territorial son “la preparación y mantenimiento del pueblo organizado para operaciones de resistencia local, ante cualquier agresión interna y/o externa”.

Desde la aparición del concepto en discursos,  pasando por la la promulgación de diferentes leyes para articularla y hasta la actualidad, los nombres han ido cambiando con bastante confusión. Desde 2007 tenemos la Milicia Nacional Bolivariana, dividida desde 2009 en Milicia Territorial y en los Cuerpos Combatientes. Estos últimos lo forman trabajadores del sector público y empresas privadas que son militarizados para mantener el funcionamiento de la Administración y la actividad económica. Además, dentro de la Milicia Territorial apareció en las áreas rurales la Milicia Campesina, con uniforme y armamento distintivo. Sobra comentar que al nombre se añadió el adjetivo «Bolivariano», como ha sucedido con el resto de instituciones del Estado en Venezuela. Allí existe desde la Agencia Bolivariana para Actividades Espaciales o el  Instituto Bolivariano de Educacion Especial.

La creación de una fuerza de reserva en Venezuela no tiene nada de extraordinario. Ni siquiera las alusiones a la misión de enfrentar a los enemigos internos. Incluso, las labores auxiliares de mantenimiento del orden público son llevadas a cabo por la Guardia Nacional en Estados Unidos. La Milicia Nacional Bolivariana tiene dos particularidades que merece la pena resaltar.

La primera es la jerarquía de mando. Según la Ley de Reforma Parcial del Decreto Nº 6.239, y tal como leemos en la página web oficial, la Milicia «depende directamente del Presidente o Presidenta de la República Bolivariana de Venezuela y Comandante en Jefe de la Fuerza Armada Nacional Bolivariana». Esto es, la Milicia no aparece como una fuerza auxiliar subordinada dentro de las fuerzas armadas, sino que es una entidad aparte dentro del organigrama de la defensa nacional y que está bajo órdenes directas del presidente Maduro. Para ello, se llegó a desgajar el VII Cuerpo de las Reservas del Ejército, con su personal e instalaciones del Ejército, para integrarlo en el Comando General de la Reserva Nacional y Movilización Nacional que depende del presidente.

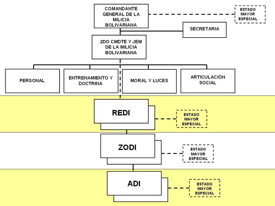
La segunda cuestión es el adoctrinamiento político que reciben los miembros de la Milicia Nacional Bolivariana. A las funciones militares, se le añade el contribuir a la «construcción del socialismo» y hacer laboras de propaganda en la vida civil. Es un fenómeno paralelo a la politización de las fuerzas armadas venezolanas evidente y extensamente documentado. Vemos en el siguiente organigrama la existencia de la sección de «Moral y Luces», aparte de la formación y doctrina.

Los dos elementos combinados, un cuerpo armado y politizado bajo órdenes directas del líder, no es una novedad venezolana Por ejemplo, Irán cuenta al margen de las fuerzas armadas (Artesh) con el Cuerpo de Guardianes de la Revolución Islámica (Pasdarán) y una milicia auxiliar (Basij). Este tipo de cuerpos armados nacen siempre por el mismo motivo. La desconfianza  del líder hacia las fuerzas armadas, que tienen poder suficiente para enfrentarse al régimen o que llegado el caso por su inacción o parálisis podría dejarlo caer.

La marcialidad de los miembros de la Milicia Nacional Bolivariana es motivo de mofa en las redes sociales. Los hombres obesos y las señoras mayores no parecen ser el tipo de combatiente capaz de enfrentarse a una invasión yanki. Pero no hay que olvidar que en un país tremendamente poralizado, una parte está armada. Precisamente, hace muy poco se celebró el día nacional de la Milicia Nacional Bolivariana en Venezuela. El presidente Maduro anunció su expansión hasta medio millón de miembros armados.


Posted

in

by

Comments

11 respuestas a «La Milicia Nacional Bolivariana y la defensa del chavismo»

  1. Avatar de Dani
    Dani

    Y todo ello en una sociedad que padece una tasa de delitos violentos alarmante.
    Por internet, hace años conocí a una señora que se hizo de esas milicias, aunque años más tarde las dejó………….

  2. Avatar de JoséF
    JoséF

    ¡¡¡Mosin-Nagant!!! Ya era reglamentario con los zares…

    1. Avatar de Dani
      Dani

      Supongo que los comprarían a peso. Para armar milicias y más si es para mantener el orden interno es más que suficiente. Pero para mi que en esas compras militares ha habido sobornos y corrupción a tope.

      1. Avatar de Jesús M. Pérez
        Jesús M. Pérez

        O el precio del contrato fue al peso, como si se tratara de chatarra, o por el camino se cobraron bastantes comisiones. Hubiera tenido más sentido comprar carabinas SKS.

  3. Avatar de MDII
    MDII

    Los ingredientes de la receta para el desastre.

  4. […] Por Jesús M. Pérez Triana en Guerras Posmodernas […]

  5. […] Por Jesús M. Pérez Triana en Guerras Posmodernas […]

  6. […] Por Jesús M. Pérez Triana en Guerras Posmodernas […]

  7. […] Por Jesús M. Pérez Triana en Guerras Posmodernas […]

  8. […] Por Jesús M. Pérez Triana en Guerras Posmodernas […]